회사에 출장비 증빙자료로 사용하려고 아직도 현금 톨게이트를 지나가시고 현금 영수증 받으시나요? 이제는 그러지 마세요. 하이패스로 톨게이트 당당하게 통과하시고 현금영수증 하나하나 풀로 붙여 제출하지 마시고 하이패스 사용내역 조회 및 출력하시어 바로 증빙하시기 바랍니다. 방법도 매우 간단합니다. 고속도로 통행료 홈페이지에 들어가셔서 로그인하신 후 하이패스 사용내역조회하시면 됩니다. 이번 포스팅에서 고속도로 홈페이지에서 하이패스 사용내역을 조회하고 출력하는 방법 자세히 설명해 드리겠습니다.
하이패스 사용내역을 바로 조회하고 싶으시면 아래 링크 클릭하세요.

하이패스 사용내역 조회
1. 하이패스 사용내역을 조회하기 위해서 고속도로 통행료 홈페이지에 접속합니다.
2. 고속도로 통행료 홈페이지 자주 찾는 서비스에서 [사용내역 조회]를 클릭합니다.

3. 하이패스 사용내역을 조회하기 위해서는 고속도로 통행료 홈페이지 로그인 하셔야 합니다. [아이디 로그인], [SMS 인증], [공동인증서 로그인] 등 하나를 선택하여 로그인하세요. 회원가입이 되어 있지 않다면 회원가입 해 주세요.

4. 저는 [SNS 간편 인증]에서 [NAVER 아이디로 로그인]으로 로그인을 진행하였습니다. NAVER 아이디만 있다면 고속도로 통행료 홈페이지에 간편하게 로그인이 가능합니다.

5. 고속도로 통행료 홈페이지 로그인 후 [사용내역 조회]를 클릭하시면 사용내역 창이 나타납니다.
하이패스 사용내역을 다양한 조건으로 검색이 가능합니다. 하이패스 카드, 조회기간, 조회기준(이용일자, 청구기간), 구분(전체, 도로공사, 민자도로), 영수증(시간표시, 시간 미표시)에서 원하는 조건을 선택하신 후 조회를 클릭합니다.

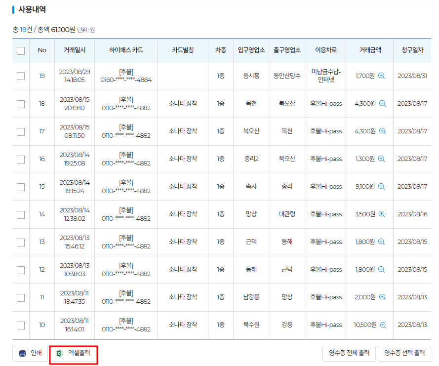
6. 선택한 조건에 맞춰 하이패스 사용내역을 확인할 수 있습니다.
조회 내용은 거래일시, 하이패스 카드, 카드별칭, 차종, 입구영업소, 출구영업소, 이용차로, 거래금액, 청구일자 순입니다.

하이패스 영수증 출력하기
1. 하이패스 영수증을 출력하기 위해서 우측 하단의 [영수증 전체 출력]과 [영수증 선택 출력]을 클릭하시면 됩니다.
[영수증 전체 출력]은 조회된 모든 내역을 영수증으로 출력합니다.
[영수증 선택 출력]은 선택한 내역을 영수증으로 출력합니다.

2. 필요한 영수증만 선택하여 출력해 보겠습니다. 먼저 출력하고자 하는 사용내역을 체크하신 후 [영수증 선택 출력]을 클릭합니다.

3. 영수증 인쇄 창이 나타납니다. [영수증 인쇄]를 클릭합니다.

4. 프린터를 선택한 후 [인쇄]를 클릭하면 영수증을 바로 출력할 수 있습니다.

5. PDF로 저장하고자 한다면 영수증 인쇄창에서 [보고서 인쇄]를 클릭하세요.

6. 좌측 상단의 빨간색 PDF 아이콘을 클릭하면 PDF로 바로 저장이 됩니다.

7. 중앙의 프린터 아이콘을 클릭하면 PDF 또는 HTML로 선택하여 저장하실 수 있습니다.

고속도로 통행료 홈페이지 링크 남겨 드립니다. 하이패스 사용내역 조회 및 영수증 출력하러 바로 가시기 바랍니다.
하이패스 사용내역 출력하기
1. 하이패스 사용내역 리스트 출력도 가능합니다. 사용내역 조회창에서 좌측 하단의 [인쇄]를 클릭합니다.

2. 사용내역을 PDF나 한글로 저장할 수 있습니다.

3. [엑셀 출력]을 선택하시면 엑셀로 바로 다운로드할 수 있습니다.

이상으로 고속도로 통행료 홈페이지에서 하이패스 사용내역 조회 및 영수증 출력 방법을 알아보았습니다. 이제 교통비 정산을 손쉽게 진행하세요.
도움 되는 글들
고속도로 통행료 홈페이지에서 하이패스 미납요금 조회 및 납부방법
고속도로를 운행할 때 하이패스 단말기 오류로 고속도로 통행료를 지불하지 못하는 경우가 종종 있습니다. 하이패스 미납요금은 지로로 집으로 오기도 하는대요. 저는 고속도로 통행료 홍페이
info.mijivc.com
모바일 앱으로 하이패스 사용내역, 미납요금 조회 및 납부 한번에 확인!
고속도로를 톨게이트를 지나갈 때 가끔씩 하이패스 단말기가 인식을 하지 않아 당황한 경험들 많이 있으시지요? 저도 구형자동차를 운행하는 데 수동으로 설치한 단말기가 오작동하는 경우를
sb.mijivc.com
수원시 주정차단속 알림서비스 바로가기 및 신청방법
수원시에서는 일시적으로 주정차하는 차량의 운전자에게 불법주정차 CCTV 단속지역임을 휴대포 문자(카카오알림톡)로 실시간으로 알려주어 과태료를 물지 않게끔 차량이동을 안내하는 주정차
info.mijivc.com
화성시 주정차단속 알림서비스 바로가기 및 신청방법
화성시 모든 지자체에서 한 번의 신청으로 불법 주정차 CCTV 단속을 피할 수 있는 방법을 소개해 드릴게요. 바로 주정차 단속 알림서비스입니다. 주정차단속 알림서비스는 나도 모르게 불법주정
info.mijivc.com
주정차 위반 과태료 조회 및 20% 할인 납부 방법
식사를 하기 위해 식당에 들어간다거나 자녀를 학원에서 픽업하거나 할 때 길가에 주정차를 하였는데, 하필이면 그 자리가 CCTV 불법 주정차 단속구간이었던 경험들 많이 있으시죠? 주정차 위반
info.mijivc.com
휘슬, 주정차 위반, 과속 및 신호 위반, 하이패스 미납요금 조회까지 한번에 한다.
주정차, 전용차로 위반 과태료 조회, 과속 및 신호 위반 과태료 조회, 하이패스 미납 통행료 조회까지 한 번에 해결할 수 있는 아주 기가 막힌 모바일 앱이 출시되었습니다. 바로 휘슬이라는 모
sb.mijivc.com
주정차 단속알림 서비스 신청, 모바일 앱 하나로 전국 64개 지자체 한번에
불법 주정차 CCTV 단속지역에 주정차하였을 때 불법주정차 CCTV 단속지역이라고 알려주는 모바일 앱이 출시되었습니다. 바로 주정차 단속알림 서비스 휘슬 모바일 앱입니다. 휘슬을 설치하여 가
sb.mijivc.com
'정부 정책 및 행정' 카테고리의 다른 글
| 고양시 주정차단속 알림서비스 바로가기 및 신청방법 (0) | 2023.09.23 |
|---|---|
| 성남시 주정차단속 알림서비스 바로가기 및 신청방법 (0) | 2023.09.22 |
| 용인시 주정차단속 알림서비스 바로가기 및 신청방법 (0) | 2023.09.09 |
| 고속도로 통행료 홈페이지에서 하이패스 미납요금 조회 및 납부방법 (0) | 2023.09.06 |
| 주정차 위반 과태료 조회 및 20% 할인 납부 방법 (0) | 2023.08.29 |


댓글